Отвертка "Мастер" PZ1100 (КВТ) 77403
Характеристики:
(смотреть все)
Код производителя
77403
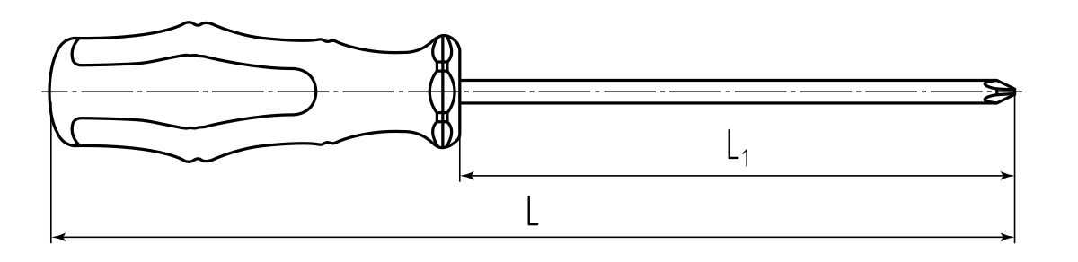
Длина стержня, мм
Материал рукоятки
Тип наконечника
Размер шлица
106 руб. без НДС
130 руб. с НДС
Нашли данный товар дешевле?
