Отвертка "Мастер" шлицевая 4,0100 (КВТ) 77397
Характеристики:
(смотреть все)
Код производителя
77397
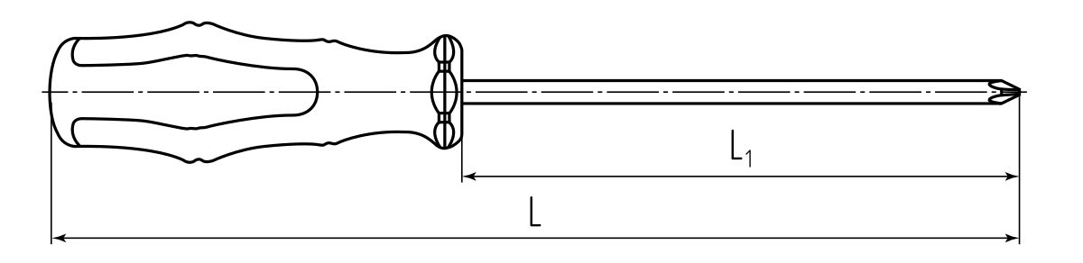
Длина стержня, мм
Материал рукоятки
Тип наконечника
Толщина шлица, мм
Ширина шлица, мм
84 руб. без НДС
103 руб. с НДС
Нашли данный товар дешевле?
