Отвертка "Мастер" PH1100 (КВТ) 77401
Характеристики:
(смотреть все)
Код производителя
77401
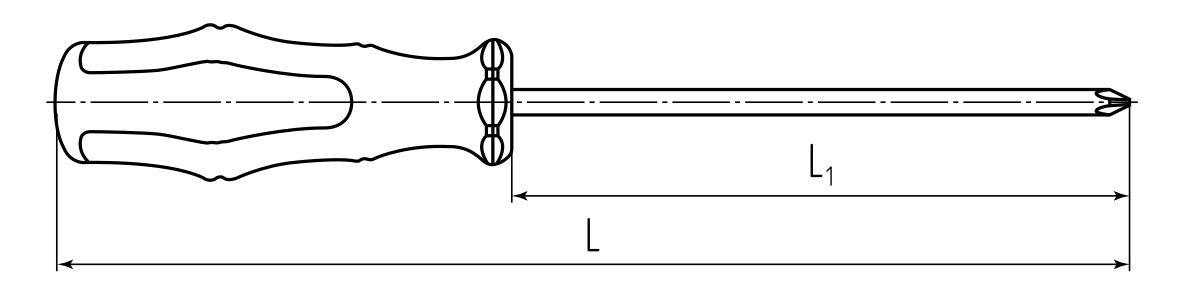
Длина стержня, мм
Материал рукоятки
Тип наконечника
Размер шлица
84 руб. без НДС
103 руб. с НДС
Нашли данный товар дешевле?
