Отвертка "Мастер" PH2125 (КВТ) 77402
Характеристики:
(смотреть все)
Код производителя
77402
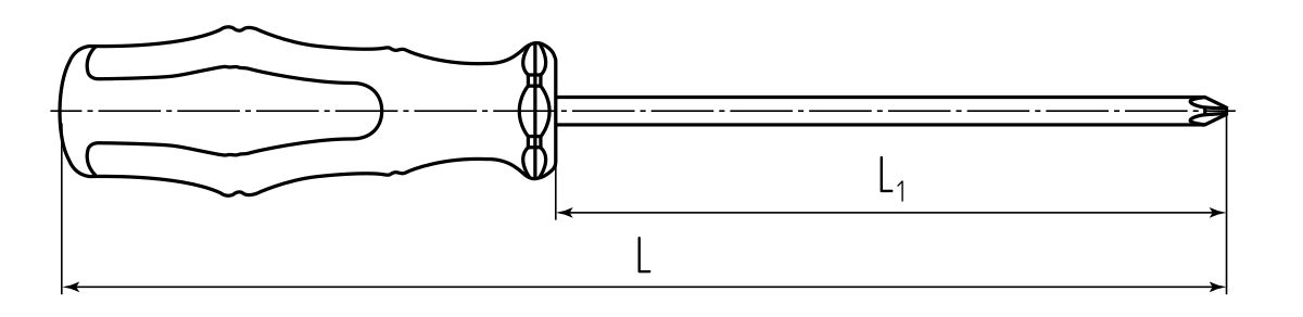
Длина стержня, мм
Материал рукоятки
Тип наконечника
Размер шлица
131 руб. без НДС
160 руб. с НДС
Нашли данный товар дешевле?
