Отвертка "Мастер" шлицевая 6,5150 (КВТ) 77399
Характеристики:
(смотреть все)
Код производителя
77399
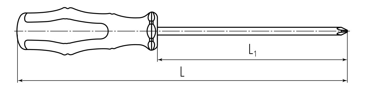
Длина стержня, мм
Материал рукоятки
Тип наконечника
Толщина шлица, мм
Ширина шлица, мм
135 руб. без НДС
165 руб. с НДС
Нашли данный товар дешевле?
